产品概述
ISW型卧式离心泵系变频卧式单级单吸管道式离心泵,是管道泵厂家中联泵业根据IS型离心泵与立式泵的独特结构组合设计,并严格按照国际标准ISO2858和国家管道离心泵标准JB/T53058-93进行设计制造的新一代节能、环保卧式离心管道泵。该泵采用国内先进水力模型优化设计而成。ISW管道离心泵同时根据使用温度、介质等不同在ISW型基础上派生出热水泵、高温泵、化工泵、油泵等,是目前国家标准定型推广产品。

产品参数
ISW型卧式管道离心泵工作条件及型号意义:
1、 卧式管道泵吸入压力≤1.0Mpa,或泵系统最高工作压力≤1.6Mpa,即泵吸入口压力+泵扬程≤ 1.6Mpa、泵静压试验压力为2.5Mpa,订货时请注明系统工作压力。泵系统工作压力大于 1.6Mpa时应在订货时另行提出。以便在制造时泵的过流部件和联接部分采用铸钢材料。
2、 环境温度<40℃,相对湿度<95%。
3、 所输送介质中固体颗粒体积含量不超过单位体积的0.1%,粒度<0.2mm.
注:如使用介质为带有细小颗粒,请在订货时说明,以便采用耐磨式机械密封。

ISW型卧式管道离心泵产品用途:
1、 ISW型卧式管道泵,供输送清水及物理化学性质类似于清水的其他液体之用,适用于工业和城市给排水,高层建筑增压送水,园林灌溉,消防增压及设备配套,使用温度T:≤80℃。
2、 ISWR(WRG)型热水(高温)循环泵广泛适用于能源、冶金、化工、纺织、造纸、以及宾馆饭店等锅炉高温热水增压循环输送及城市采暖系统循环用泵,ISWR使用温度T:≤120℃、WRG使用温度T:≤240℃。
3、 ISWH型卧式化工泵,供输送不含固体颗粒,具有腐蚀性,粘度类似于水的液体,适用于石油、化工、冶金、电力、造纸、食品、制药和合成纤维等部门,使用温度T:-20℃-120℃。
4、 ISWB型卧式油泵,供输送汽油、柴油、煤油等石油产品,使用温度T:-20℃-120℃。
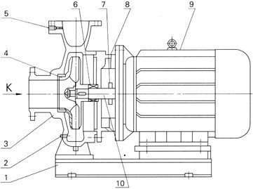
ISW型卧式管道离心泵结构图及结构特点:

1底座 2放水孔 3泵体 4叶轮 5取压孔 6机械密封 7挡水圈 8端盖 9电机 10轴
卧式管道泵结构见图:该机组由泵、电机和底座三部分组成。泵结构包括泵体、叶轮、泵盖、机械密封等零部件组成。泵为单级单吸卧式离心式,泵体和泵盖两部份是从叶轮背面处剖分的,即为后开门结构形式。大多数泵的叶轮前、后均设有密封环,并在叶轮后盖板上设有平衡孔,以平衡作用在转子上的轴向力。泵进口为轴向水平吸入,出口为垂直向上布置。泵和电机同轴,电机轴伸端采用双角接触球轴承结构可部分平衡泵的残余轴向力。泵与电机直联,安装时无需校正,具有共同底座,并用JG型隔振器进行隔振。
卧式管道泵结构特点:
1、运行平稳:泵轴的绝对同心度叶轮优异的动静平衡,保证平稳运行,绝无振动。
2、滴水不漏:不同材质的硬质合金密封,保证了不同介质输送均无泄漏。
3、噪音低:两个低噪音轴承下的水泵,运转平稳,除电机微弱声响,基本无噪声。
4、故障率低:结构简单合理,关键部分采用国际一流品质配套,整机无故障工作时间大大提高。
5、维修方便:更换密封、轴承、简易方便。
6、占地更省:出口可向左、向右、向上三个方向,便于管道布置安装,节省空间。
卧式管道离心泵维修与保养:
(一)卧式管道泵运行中的维护和保养:
1、进水管路必须高度密封。
2、禁止泵在汽蚀状态下长期运行。
3、禁止泵在大流量运行时,电机超电流长期运行。
4、定时检查泵运行中电机电流值,尽量使泵能在标准下工作。
5、泵在运行过程中应有专人看管,以免发生意外。
6、泵每运行500小时应对轴承进行加油。电机功率大于11kW配有加油装置,可用高压油枪直接注入,以保证轴承润滑优良。
7、泵进行长期运行后,由于机械磨损,使机组噪声及振动增大时,应停车检查,必要时可更换易损零件及轴承,机组大修期一般为一年。
(二)卧式管道泵机械密封维护与保养:
1、机械密封润滑应清洁无固体颗粒。
2、严禁机械密封在干磨情况下工作。
3、起动前应盘动泵(电机)几圈,以免突然起动造成密封环断裂损坏。
卧式管道离心泵启动、运转与停车:
(一)卧式管道泵起动、运转:
1、用手拨转电机风叶,叶轮应无卡磨现象,转动灵活。
2、用手盘动泵以使润滑液进入机械密封端面。
3、灌水排气,打开进口阀,使液体充分进入泵腔内,直至整个管路充满液体,并保证进口管路的密封性。
4、关闭出口阀,以减少起动电流。
5、接通电源,点起动确定正确运行方向,从电机风叶端看为顺时针旋转。
6、逐步调节出口阀的开度,尽量使泵在额定状态工作。
7、泵在运转过程中,如发现噪音或不寻常的声音时,应立即停车检查。
8、正常机械密封泄漏应小于3滴/分,检查电机,轴承处温升<70℃,超过此值应检查原因。
(二)卧式管道泵停车:
1、 关闭吐出管路阀门。
2、 切断电源,停止电机运行。
3、 关闭进口阀。
4、 泵长期停用,应放尽泵内液体。
ISW型卧式管道离心泵型号参数:
|
ISW25-110 |
ISW50-250A |
ISW80-250A |
ISW150-250B |
ISW250-250(I)A |
|
ISW25-125A |
ISW50-250B |
ISW80-250B |
ISW150-250 |
ISW250-250(I) |
|
ISW25-125 |
ISW50-250 |
ISW80-250 |
ISW150-315(I)A |
ISW250-250 |
|
ISW25-160A |
ISW50-315(I)A |
ISW80-315(I)A |
ISW150-315(I)B |
ISW250-300 |
|
ISW25-160 |
ISW50-315(I)B |
ISW80-315(I)B |
ISW150-315(I) |
ISW250-315A |
|
ISW32-100 |
ISW50-315(I) |
ISW80-315(I)C |
ISW150-315A |
ISW250-315B |
|
ISW32-125A |
ISW65-100(I)A |
ISW80-315(I) |
ISW150-315B |
ISW250-315 |
|
ISW32-125 |
ISW65-100(I) |
ISW80-315A |
ISW150-315 |
ISW250-400A |
|
ISW32-160A |
ISW65-100A |
ISW80-315B |
ISW150-350A |
ISW250-400B |
|
ISW32-160 |
ISW65-100 |
ISW80-315C |
ISW150-350B |
ISW250-400 |
|
ISW32-200A |
ISW65-125(I)A |
ISW80-315 |
ISW150-350 |
ISW250-500A |
|
ISW32-200 |
ISW65-125(I) |
ISW80-350A |
ISW150-400A |
ISW250-500B |
|
ISW40-100(I)A |
ISW65-125A |
ISW80-350B |
ISW150-400B |
ISW250-500C |
|
ISW40-100(I) |
ISW65-125 |
ISW80-350 |
ISW150-400C |
ISW250-500 |
|
ISW40-100A |
ISW65-160(I)A |
ISW100-100A |
ISW150-400 |
ISW300-235A |
|
ISW40-100 |
ISW65-160(I)B |
ISW100-100 |
ISW150-500 |
ISW300-235B |
|
ISW40-125(I)A |
ISW65-160(I) |
ISW100-125A |
ISW200-200(I)A |
ISW300-235 |
|
ISW40-125(I) |
ISW65-160A |
ISW100-125 |
ISW200-200(I) |
ISW300-250A |
|
ISW40-125A |
ISW65-160B |
ISW100-160A |
ISW200-200A |
ISW300-250 |
|
ISW40-125 |
ISW65-160 |
ISW100-160B |
ISW200-200GA |
ISW300-300A |
|
ISW40-160(I)A |
ISW65-200(I)A |
ISW100-160 |
ISW200-200G |
ISW300-300B |
|
ISW40-160(I)B |
ISW65-200(I)B |
ISW100-200A |
ISW200-200 |
ISW300-300 |
|
ISW40-160(I) |
ISW65-200(I) |
ISW100-200B |
ISW200-250(I)A |
ISW300-315A |
|
ISW40-160A |
ISW65-200A |
ISW100-200 |
ISW200-250(I)B |
ISW300-315B |
|
ISW40-160B |
ISW65-200B |
ISW100-250A |
ISW200-250(I) |
ISW300-315 |
|
ISW40-160 |
ISW65-200 |
ISW100-250B |
ISW200-250A |
ISW300-390A |
|
ISW40-200(I)A |
ISW65-250(I)A |
ISW100-250 |
ISW200-250B |
ISW300-390B |
|
ISW40-200(I)B |
ISW65-250(I)B |
ISW100-315A |
ISW200-250GA |
ISW300-390 |
|
ISW40-200(I) |
ISW65-250(I) |
ISW100-315B |
ISW200-250GB |
ISW300-400A |
|
ISW40-200A |
ISW65-250A |
ISW100-315 |
ISW200-250G |
ISW300-400 |
|
ISW40-200B |
ISW65-250B |
ISW100-350A |
ISW200-250 |
ISW300-500A |
|
ISW40-200 |
ISW65-250 |
ISW100-350B |
ISW200-315(I)A |
ISW300-500B |
|
ISW40-250(I)A |
ISW65-315(I)A |
ISW100-350 |
ISW200-315(I)B |
ISW300-500C |
|
ISW40-250(I)B |
ISW65-315(I)B |
ISW125-100A |
ISW200-315(I) |
ISW300-500 |
|
ISW40-250(I) |
ISW65-315(I) |
ISW125-100 |
ISW200-315A |
ISW350-235 |
|
ISW40-250A |
ISW65-315A |
ISW125-125A |
ISW200-315B |
ISW350-300 |
|
ISW40-250B |
ISW65-315B |
ISW125-125 |
ISW200-315GA |
ISW350-315 |
|
ISW40-250 |
ISW65-315 |
ISW125-160A |
ISW200-315GB |
ISW350-400 |
|
ISW50-100(I)A |
ISW80-100(I)A |
ISW125-160B |
ISW200-315G |
ISW350-450A |
|
ISW50-100(I) |
ISW80-100(I) |
ISW125-160 |
ISW200-315 |
ISW350-450 |
|
ISW50-100A |
ISW80-100A |
ISW125-200A |
ISW200-400(I)A |
ISW350-500 |
|
ISW50-100 |
ISW80-100 |
ISW125-200B |
ISW200-400(I)B |
ISW350-525A |
|
ISW50-125(I)A |
ISW80-125(I)A |
ISW125-200 |
ISW200-400(I)C |
ISW350-525B |
|
ISW50-125(I) |
ISW80-125(I) |
ISW125-250A |
ISW200-400(I) |
ISW350-525 |
|
ISW50-125A |
ISW80-125A |
ISW125-250B |
ISW200-400A |
ISW350-600A |
|
ISW50-125 |
ISW80-125 |
ISW125-250 |
ISW200-400B |
ISW350-600B |
|
ISW50-160(I)A |
ISW80-160(I)A |
ISW125-315A |
ISW200-400C |
ISW350-600 |
|
ISW50-160(I)B |
ISW80-160(I)B |
ISW125-315B |
ISW200-400GA |
ISW400-300 |
|
ISW50-160(I) |
ISW80-160(I) |
ISW125-315 |
ISW200-400GB |
ISW400-315 |
|
ISW50-160A |
ISW80-160A |
ISW150-125A |
ISW200-400GC |
ISW400-450A |
|
ISW50-160B |
ISW80-160B |
ISW150-125 |
ISW200-400G |
ISW400-450 |
|
ISW50-160 |
ISW80-160 |
ISW150-160A |
ISW200-400 |
ISW400-500A |
|
ISW50-200(I)A |
ISW80-200(I)A |
ISW150-160B |
ISW200-500(I)A |
ISW400-500B |
|
ISW50-200(I)B |
ISW80-200(I)B |
ISW150-160 |
ISW200-500(I)B |
ISW400-500 |
|
ISW50-200(I) |
ISW80-200(I) |
ISW150-200A |
ISW200-500(I)C |
ISW400-600A |
|
ISW50-200A |
ISW80-200A |
ISW150-200B |
ISW200-500(I) |
ISW400-600B |
|
ISW50-200B |
ISW80-200B |
ISW150-200 |
ISW200-500GA |
ISW400-600C |
|
ISW50-200 |
ISW80-200 |
ISW150-250(I)A |
ISW200-500GB |
ISW400-600 |
|
ISW50-250(I)A |
ISW80-250(I)A |
ISW150-250(I)B |
ISW200-500GC |
ISW500-300 |
|
ISW50-250(I)B |
ISW80-250(I)B |
ISW150-250(I) |
ISW200-500G |
ISW500-315 |
|
ISW50-250(I) |
ISW80-250(I) |
ISW150-250A |
ISW250-235 |
点击上方型号,可查看具体详细参数和性能曲线图等,更多参数请直接到水泵选型页面直接查询